
Research and Development Division, Sawai Pharmaceutical Co., Ltd., 12-34 Hiroshibacho, Suita, Osaka 5640052, Japan
Email: s.hosaka@sawai.co.jp
Received: 12 Jun 2018, Revised and Accepted: 07 Aug 2018
ABSTRACT
Objective: Bitter taste-masked drug substance should be needed for the development of orally disintegrating tablets (ODT). We selected a new type of a complex fluidized-bed granulator equipped with a particle-sizing mechanism for treating famotidine (FAM). This study was conducted to demonstrate the critical process parameter, which controls particle size of treated FAM, to determine its acceptable particle size considering uniformity of assay and to perform scale-up study from a laboratory scale to a commercial scale.
Methods: Particle size of treated FAM was evaluated by changing spraying air pressure on the operation of a complex fluidized-bed granulator. Uniformity of assay in granules after blending and tablets were compared at different particle size of treated FAM. On the scale-up study, particle size and assay of treated FAM in both scales were evaluated.
Results: The particle size of treated FAM decreased as the increase in spraying air pressure in relation to the spraying mist size. Better uniformity of assay was observed when the diameter of treated FAM was 20 µm compared to that of 50 µm. Therefore, target particle size of treated FAM was set at approximately 20 µm. Similar qualities could be obtained between both scales in the points of particle size and assay.
Conclusion: On the operation of a complex fluidized-bed granulator, spraying air pressure was the critical process parameter that controlled particle size of treated FAM. On Scale-up study of treated FAM, spraying air pressure in relation to the spraying mist size was important.
Keywords: Complex Fluidized-bed Granulator, Particle Size, Spraying Mist Size, Scale-up Study
© 2018 The Authors.Published by Innovare Academic Sciences Pvt Ltd. This is an open access article under the CC BY license (http://creativecommons.org/licenses/by/4.0/)
DOI: http://dx.doi.org/10.22159/ijcpr.2018v10i5.29692
INTRODUCTION
Bitter taste-masking techniques of drug substance for the development of orally disintegrating tablet (ODT) have become a focus of attention. Several techniques for taste-masking by treating drug substance directly have been developed, e. g., spray-drying process [1], or Wurster process [2]. Recently, spray-coating techniques for the production of fine particles have been developed significantly by the improvement of coating device.
However, when treating particles within 100 μm in size, particles tend to agglomerate, to charge with static electricity and to destabilize in fluidity. Accordingly, it is generally difficult to perform scale-up study from a laboratory scale to a commercial scale.
A new type of fluidized-bed device equipped with a particle-sizing mechanism, referred to as a complex fluidized-bed granulator has been developed for treating drug substance directly [3]. As one of the applications using this device, preparation of fine particles with improved solubility has been reported [4]. However, scale-up study for industrialization using this device has not been reported at least in the pharmaceutical field. For the development of generic version of ODT which contains famotidime (FAM), we selected a complex fluidized-bed granulator for treating FAM because of patent or license infringement.
Target qualities of treated FAM are set at following two points: 1) the treated FAM is within 100 μm in size to avoid grittiness in the mouth. 2) The assay of FAM in granules after blending and tablets is in the range from 95 to 105 % with acceptable uniformity. The goals of this study are to demonstrate the critical process parameter, which controls particle size of treated FAM, to determine its acceptable particle size considering uniformity of assay and to perform scale-up study from a laboratory scale to a commercial scale based on them.
MATERIALS AND METHODS
Materials
Famotidine (FAM) (Tonira Parma Ltd., India) was pulverized using a stamp mill (Sample Mill, Fuji Paudal Co., Ltd., Japan) before use. Ethylcellulose aqueous dispersion (Aquacoat® ECD30, FMC BioPolymer, USA), talc (Fuji Talc Industrial Co., Ltd., Japan), triacetin (Yuki Gosei Kogyo Co. Ltd., Japan), D-mannitol (PEARLITOL® 100SD, Roquette, France), maltose syrup powder (Finetose®, Hayashibara, Japan), aspartame (Ajinomoto, Japan), and calcium stearate (NOF Corporation, Japan) were used as excipients in this study.
All excipients are listed in the Japanese Pharmacopoeia (JP) or Japanese Pharmaceutical Excipients. Other materials and solvents were of analytical reagent grade.
Preparation for treated FAM
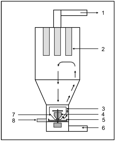
Table 1 presents the formulations of treated FAM in a laboratory scale and a commercial scale. Ethylcellulose aqueous dispersion and triacetin were mixed well and the suspension was sprayed to FAM with a small amount of talc in a complex fluidized-bed granulator (SFP-01 or SFP-10, Powrex Corporation, Japan). The schematic representation of a complex fluidized-bed granulator together with powder flow is described in fig. 1.
The screen diameter in this device was 2.0 mmφ and the spray nozzle was placed on the bottom of the apparatus. The operating conditions of both scales are listed in table 2. In a laboratory scale, spraying air pressure was changed when its effect on particle size of treated FAM was investigated. After spraying, treated FAM was dried for 5 min in the same device.
Table 1: Formulations for treated FAM prepared using complex fluidized-bed granulators
| Formulation | Amount (g) |
| Scale | Laboratory |
| Famotidine | 400 |
| Talc | 2 |
| Ethylcellulose aqueous dispersion1) | 400 |
| Triacetin | 30 |
| D-Mannitol | 2840 |
| Maltose syrup powder | 160 |
| Aspartame | 40 |
| Calcium stearate | 8 |
| Purified water | 540 |
| Total batch size | 3600 |

Fig. 1: Schematic representation of a complex fluidized-bed granulator, 1: Exhaust air, 2: Bag filter, 3: Partition tube, 4: Impeller, 5: Rotor disc, 6: Inlet air, 7: Screen, 8: Spray nozzle
Table 2: Operating conditions for treated FAM prepared using complex fluidized-bed granulators
| Operating condition | Laboratory | Commercial |
| Machine Type | SFP-01 | SFP-10 |
| Inlet air temperature (˚C) | 60-61 | 44-50 |
| Exhaust air temperature (˚C) | 37-42 | 30-38 |
| Inlet airflow rate (m3/h) | 35-40 | 290-340 |
| Rotation speed (rpm) | 1500 | 800 |
| Spraying rate (g/min) | 4.5 | 30 |
| Spraying air pressure (MPa) | 0.29 | 0.20 |
Preparation for tablets containing treated FAM
Table 1 also presents the formulations of tablets. Two kinds of tablets were prepared containing treated FAM with a diameter of 50 or 20 µm in the same formulation. Treated FAM, D-mannitol, maltose syrup powder, and aspartame were granulated for 15 min in a high shear granulator (FS-GS-10, Fukae Powtec Co., Ltd., Japan) with purified water after mixing in the same apparatus. The rotation speed of agitator blade and chopper blade of the granulator was 200 and 2000 rpm, respectively. The wet mass was dried at 60 °C for 2 h (20C, Fuji Paudal Co., Ltd., Japan), passed through a cutter mill equipped with a 1.5 mm screen (P-04S, Dalton, Japan), and then blended with calcium stearate for 30 s (TCV-10, Tokujyu Corporation, Japan) to yield two kinds of granules for tableting. These granules after blending were compressed in a rotary tablet press (HT-AP45MSU-I/a, Hata Iron Works Co., Ltd., Japan) at a rotation speed of 15 rpm to yield tablets weight and diameter of 180 mg and 8.5 mm, respectively.
Particle size of treated FAM
The particle size of treated FAM was measured using a laser diffraction method (Heros System particle size analyzer, JEOL, Japan). Measurement was performed twice for each sample and particle size was expressed as the average of a volume mean diameter (D50).
Spraying mist size
Spraying mist size was measured using a laser diffraction method (LDSA-3400A, Tohnichi Computer Co. Ltd., Japan). The spray nozzle of a complex fluidized-bed device (SFP-01 or SFP-10) was placed vertically against a laser beam and the suspension was sprayed at several spraying air pressures. Measurement was performed once after confirming constant spraying mist. Spraying mist size was expressed as a volume mean diameter (D50).
Uniformity of assay in granules and tablets
Granules after blending with calcium stearate were sampled from the blender at three points (left, center and right of blender) and tablets were also sampled during compression at three consecutive times (beginning, middle and end of tableting). The quantity of FAM was assayed by HPLC according to the Japanese Pharmacopoeia ⅩⅦ. Assay of FAM in granules or tablets was expressed as an average value with a standard deviation of three samples.
RESULTS AND DISCUSSION
Critical process parameter for particle size
Especially, to design fine particles of treated drug substance for ODT, setting the target particle size is important due to the grittiness in the mouth [1]. A conventional fluidized-bed device cannot treat drug substance directly due to the production of largely agglomerated particles. However, a complex fluidized-bed device can treat drug substance directly due to the particle-sizing mechanism. Several factors, such as inlet airflow rate, rotation speed of rotor disc and spraying rate were optimized for the operation considering powder flow and spraying time.
Before scale-up study on a complex fluidized-bed granulator, the critical process parameter for determining particle size must be known to obtain the desired particle size. Kimura et al. reported that the spraying air pressure was identified as one of critical process parameters in granulation process, using a multi-functional rotor processor, Granulex® [5, 6]. We focused on the spraying air pressure as well as the case of using Granulex®. Treated FAM was prepared at different levels of spraying air pressures and its effect on particle size was investigated.
The relationship between spraying air pressure and particle size of treated FAM is shown in fig. 2-A. The particle size of treated FAM decreased exponentially in the range from 0.10 to 0.29 MPa. The particle size of FAM was 7 μm and particle size of treated FAM increased compared to original FAM. In general, more than 20 μm in particle size is needed for the powder flow [7]. When the particle size is less than 20 μm, it is suggested to be partially agglomerated. The coating mechanism of a complex fluidized-bed granulator is as follows: in the case of larger particles, they are coated by spraying materials, and in the case of smaller particles, agglomerated particles are coated or granulated by spraying materials [8]. On a complex fluidized-bed device, coated or granulated particles are crushed by the impeller, which rotated at high speed or screen so that particle size would be adjusted.
The relationship between spraying air pressure and spraying mist size is shown in fig. 2-B. The spraying mist size also decreased exponentially in this region. On the coating process for fine particles, smaller particles can be obtained as the spraying mist size is smaller.

Fig. 2: Relationships between spraying air pressure and particle size of treated FAM prepared using a complex fluidized-bed granulator (SFP-01) (A) and spraying mist size (B)
The representative particle size distributions of treated FAM processed at different levels of spraying air pressures are shown in fig. 3. One of the problems during preparation of fine particles is the production of largely agglomerated particles [5, 6, 9] or imperfectly coated particles [9]. It should be noted, however, that in all cases treated FAM had homogenous distributions without largely agglomerated particles or imperfectly uncoated particles.

Fig. 3: Particle size distributions of treated FAM prepared using a complex fluidized-bed granulator (SFP-01) at various spraying air pressures, A: 0.29 MPa, B: 0.24 MPa, C: 0.16 MPa, D: 0.10 MPa
Uniformity of ASSAY in granules and tablets
Treated drug substance is generally granulated with pharmaceutical excipients, blended with lubricant and compressed into tablets for preparing ODT. In the case of containing treated drug substance, various problems may occur in compression process, such as crushing of coated particles [10-12] or lack of content uniformity in tablets [12]. Content uniformity will be better if particle size of treated drug substance is as small as that of other excipients. It has been reported that content uniformity in tablets containing FAM could be improved by granulation method when particle size of treated FAM differed from that of other excipients [13]. In our study, D-mannitol with a diameter of 100 µm, which was not a powder grade was selected to prevent from sticking trouble during compression process. It must be confirmed that whether uniformity of assay meets criteria or not when treated FAM and D-mannitol, which differs in size are granulated. The acceptable particle size of treated FAM should be determined considering uniformity of assay to establish the robust process for industrialization. Two kinds of treated FAM with a diameter of 50 and 20 µm were used to prepare tablets in a laboratory scale. The assay of FAM in granules and tablets were then evaluated. The results are listed in table 3.
Table 3: Effect of particle size of treated FAM on uniformity of assay
| Machine type | SFP-01 | SFP-01 | |
| Particle size (D50) | 46 µm | 17 µm | |
| Granules after blending | |||
| Content of famotidine (%) | Left | 97.3 | 101.8 |
| Center | 97.5 | 100.6 | |
| Right | 101.3 | 100.9 | |
| Average (%) | 98.7 | 101.1 | |
| Standard deviation | 2.26 | 0.60 | |
| Tablets | |||
| Content of famotidine (%) | Beginning | 99.2 | 101.0 |
| Middle | 100.8 | 101.9 | |
| End | 94.7 | 100.9 | |
| Average (%) | 98.3 | 101.3 | |
| Standard deviation | 3.15 | 0.55 |
When the tablets were prepared using treated FAM with a diameter of 50 µm, the assay of granules and tablets met the criteria (95.0-105.0 %) and the standard deviations of them were 2.26 and 3.15, respectively. However, improvement of them should be needed. On the other hand, in the case of treated FAM with a diameter of 20 µm, the assay of granules and tablets were also met the criteria and the standard deviations of them were 0.60 and 0.55, respectively. The treated FAM with a diameter of 20 μm, was preferable in the point of uniformity. Accordingly, target particle size of treated FAM was set at 20 µm.
Scale-Up study
On the scale-up study of a complex fluidized-bed granulator, we first focused on the rotation speed of rotor disc. Watano et al. reported the scale-up theory of an agitation fluidized-bed granulation based on the kinetic energy similarity [14]. The ratio of circumferential kinetic energy by agitator rotation to vertical kinetic energy by fluidizing air denoted by a simple expression of (Rω/u)2 should be constant between two scales, where R, ω and u show radius of the vessel, angular velocity and fluidizing air velocity. Rotation speed of rotor disc was set at 1500 rpm in a laboratory scale (SFP-01), whereas it was set at 800 rpm in a commercial scale (SFP-10), which was consistent with the calculated value based on this theory. Powder flow in a complex fluidized-bed granulator was suitable.
As mentioned in the previous section, the critical process parameter for determining particle size was the spraying air pressure and target particle size was set at 20 µm considering uniformity of assay. On the scale-up study, risk assessment was conducted to identify high risk parameter, which could impact on the particle size according to the information from U. S. Food and Drug Administration (FDA) and Parenteral Drug Association (PDA)-Japan Chapter [15, 16]. The result is listed in table 4. Severity is the relationship between potential critical process parameter and product quality. If the potential process parameter affects to the product quality, the risk will be high. Probability is the relationship between operation range and acceptable range. If the operation range is equal or near to the acceptable range, the risk will be high. The risk will be evaluated by the combination of severity and probability. It is strongly suggested that critical process parameter for the scale-up study is spraying air pressure and spraying mist size is important as well as the case of scale-up study using an agitation fluidized-bed granulator [17].
Accordingly, to succeed scale-up study on a complex fluidized-bed granulator, the spraying mist size should be taken into consideration. From the point of this view, the spraying mist size was investigated at different levels of spraying air pressures in a commercial scale (SFP-10). As a result, the spraying mist size at spraying air pressure: 0.20 MPa in a commercial scale (SFP-10) was the same as that at spraying air pressure: 0.29 MPa in a laboratory scale (SFP-01), which were both approximately 15 μm as listed in table 5.
Table 4: Risk assessment of process parameter for scale-up study on the particle size operated by a complex fluidized-bed granulator
Process parameter |
Severity | Probability | Risk assessment | Justification |
| Inlet air temperature | High | Low | Low | Inlet air temperature does not impact on the particle size for scale-up operation. The risk is low. |
| Inlet airflow rate | High | Low | Low | Powder flow is generated by inlet airflow and rotation of rotor disc. These factors may impact on the particle size. However, they are optimized for scale-up operation considering powder flow. The risk is low. |
| Rotation speed | Low | Low | Low | |
| Spraying rate | High | Low | Low | This factor may impact on the particle size. However, in the case of higher spraying rate, wet powders would attach to the screen or wall of the container and in the case of lower spraying rate, spraying time would be longer. It is optimized for scale-up operation. The risk is low. |
| Spraying air pressure | High | High | High | Spraying pressure may impact on the particle size. The risk is high. |
Table 5: Scale-up study of treated FAM on a complex fluidized-bed granulator
| Scale | Laboratory | Commercial |
| Machine Type | SFP-01 | SFP-10 |
| Spraying mist size (µm) | 14.8 | 14.0 |
| Treated famotidine | ||
| Particle size (µm) | 20.9 | 21.7 |
| Assay of famotidine (%) | 101.4 | 99.1 |
After confirmed spraying mist size, FAM was treated in both scales at the operating conditions listed in table 2. The results of particle size and assay of treated FAM in both scales are also listed in table 5. The particle size prepared in both scales was approximately 20 μm when the spraying mist size was set at the same. Furthermore, assay of FAM was approximately 100 % in both scales. It could be confirmed that scale-up study was succeeded which focused on spraying mist size.
It seems that spraying mist size is relatively large against particle size of treated FAM. In a conventional granulation, particle size would become larger than that in this case. However, when treating drug substance using this device, the increase of particle size was suppressed even in relatively large mist size. The following reasons may be suggested in addition to the particle-sizing mechanism in this device. 1) The spraying rate in this operation is lower compared to that in the case of a conventional granulation so that the number of spraying mist is low, whereas spraying mist size is relatively large. 2) FAM particles have larger surface area and more hydrophobic property compared to the materials using for a conventional granulation. 3) Ethylcellulose aqueous dispersion does not have a stronger binding property compared to hydroxypropyl cellulose or hypromellose solution using for a conventional granulation.
CONCLUSION
In this study, bitter taste-masked FAM for the development of ODT could be prepared in a complex fluidized-bed granulator equipped with a particle-sizing mechanism. Due to the particle-sizing mechanism, production of largely agglomerated particles was suppressed, which was a major advantage for designing particles with specific functions. It could be demonstrated that the key process parameter determining particle size was the spraying air pressure. The target particle size of treated FAM was set at 20 μm considering uniformity of assay in granules after blending and tablets.
Based on these results, scale-up study of treated FAM was performed from a laboratory scale to a commercial scale. The similar qualities could be obtained between both scales by considering spraying mist size.
ACKNOWLEDGMENT
I would like to express appreciation to Powrex Corporation
All the author have contributed equally
CONFLICT OF INTERESTS
Declared none
REFERENCES
Mizumoto T, Tamura T, Kawai H, Kajiyama A, Itai S. Formulation design of taste-masked particles, including famotidine, for an oral fast-disintegrating dosage form. Chem Pharm Bull 2008;56:530–5.
Sakamoto H. State of art technology of granulation and coating by newly developed Wurster processor. Design of taste masking and rapidly disintegrating tablet using super fine particles coater (SPC). Pharm Tech Japan 2005;21:1149–59.
Terashita K, Natsuyama S, Nagato T, Kanou Y, Namba N. Development of new design complex fluidized bed device with particle sizing mechanism for fine particle coating and fine granulation. Pharm Tech Japan 2004;20:105–13.
Hosaka S, Okamura Y, Tokunaga Y. Preparation of fine particles with improved solubility using a complex fluidized-bed granulator equipped with a particle-sizing mechanism. Chem Pharm Bull 2016;64:644-9.
Kimura S, Iwao Y, Ishida M, Uchimoto T, Miyagishima A, Sonobe T, et al. Optimal conditions to prepare fine globular granules with a multi-functional rotor processor. Int J Pharm 2010; 391:244–7.
Kimura S, Iwao Y, Ishida M, Noguchi S, Itai S, Uchida S, et al. Evaluation of the physicochemical properties of fine globular granules prepared by a multi-functional rotor processor. Chem Pharm Bull 2014;62:309–15.
CC Cole. Pharmaceutical Coating Technology: Tayler and Francis; 1995. p. 1.
Funtaikiki Souchi Handbook: The Nikkan Kogyo Shimbun, Ltd.; 1995. p. 413.
Fukumori Y, Ichikawa H, Yamaoka Y, Akaho E, Takeuchi Y, Fukuda T, et al. Effect of additives on physical properties of fine ethyl cellulose microcapsules prepared by the wurster process. Chem Pharm Bull 1991;39:164–9.
Hasegawa A, Nakagawa H, Sugimoto I. Damage of microcapsule wall during compression. Yakugaku Zasshi 1984;104:889–95.
Shimizu T, Nakano Y, Morimoto S, Tabata T, Hamaguchi N, Igari Y. Formulation study for lansoprazole fast-disintegrating tablet. I. Effect of compression on dissolution behavior. Chem Pharm Bull 2003;51:942–7.
Yuasa H, Kanaya Y, Omata K. Studies on internal structure of tablets. III.: Manufacturing of tablets containing microcapsules. Chem Pharm Bull 1990;38:752–6.
Mizumoto T, Tamura T, Kawai H, Kajiyama A, Itai S. Formulation design of an oral, fast-disintegrating dosage form containing taste-masked particles of famotidine. Chem Pharm Bull 2008;56:946–50.
Watano S, Sato Y, Miyanami K. Scale-up of agitation fluidized bed granulation. IV. Scale-up theory based on the kinetic energy similarity. Chem Pharm Bull 1995;43:1227–30.
Quality by Design for ANDAs: An Example for Immediate-Release Dosage Forms: U. S. Food and Drug Administration (FDA); 2012.
Project report meeting of GMP committee of drug substance: Parenteral Drug Association-Japan Chapter; 2008.
Watano S, Sato Y, Miyanami K, Murakami T, Ito Y, Kamata T, et al. Scale-up of agitation fluidized bed granulation. I. Preliminary experimental approach for optimization of process variables. Chem Pharm Bull 1995;43:1212–6.