aDepartment of chemistry, S.N.Vanitha Mahavidyalaya, Hyderabad 500001, TS, India, bDepartment of chemistry, University college for Women, Koti, Hyderabad -500095,TS, India, c*Department of chemistry, University College of Science, Osmania University, Hyderabad 500007, TS, India, dDepartment of chemistry, Nizam college, Hyderabad 500001, TS, India.
Email: dr_saraladevich@yahoo.com
Received: 20 Jun 2014 Revised and Accepted: 22 Jul 2014
ABSTRACT
Objective: The title compound 4-pyridine carboxaldehyde 3-hydroxy-5-(hydroxy methyl)-2-methyl hydrazone (PCHHMMH) hydrochloride an analogue of Pyridoxal isonicotinoyl hydrazone PIH, is an iron chelator. The PCHHMMH has potential donor sites suitable for metal ion binding, the study on structural aspects of the compound and its copper complex are explored. With a view to understand biological importance of title compounds, antimicrobial and cytotoxic studies were planned.
Methods: In the present study the spectroanalytical techniques employed were pH-metry, spectrophotometry, IR, 1H & 13C-NMR, UV-Vis, ESR, Magnetic measurements, TGA and SEM. The computational method employed is HyperChem 7.5 software. The antimicrobial studies were carried out by agar disc diffusion method for antibacterial studies against Gram positive and Gram negative bacteria. The cytotoxic potential was measured by Sulforhodamine B (SRB) method against selected tumor cells.
Results: The equilibrium studies by employing pH-metric method inferred the dissociation of two protons in it. Further titration in presence of Cu (II) ion, it is confirmed the release of two protons from title compound and formation of corresponding complex. The orientations of frontier orbitals for molecular and ionized forms of compound were computed to understand the electronic properties. The Cu (II) PCHHMMH complex was characterized by spectroanalytical methods and screened for, antimicrobial and cytotoxic activities.
Conclusion: As the structural features are important to understand the chemical behavior of metal complexes, in the present study copper complex was synthesized and characterized by employing various spectro-analytical tools viz; IR, 1H & 13C-NMR, UV-Vis, ESR, Magnetic measurements, TGA and SEM. Further the antimicrobial and cytotoxic activities were evaluated and correlated with computed QSAR data.
Keywords: 4-pyridine carboxaldehyde-3-hydroxy-5-(hydroxy methyl)-2-methyl hydrazone (PCHHMMH) hydrochloride, DEPT, HyperChem 7.5, Cu (II) PCHHMMH complex and ESR studies.
INTRODUCTION
Iron chelating agents are essential for treating iron overload which is a consequence of long-term transfusion therapy in the disease ß-thalassemia and are potentially useful for therapy in non-haeme iron[1,2,3] overload conditions. According to previous studies the tridentate chelator Pyridoxal isonicotinoyl hydrazone (PIH) has high iron chelation efficacy in vitro and vivo with high selectivity and affinity for iron [4]. Most biological studies on PIH analogues inferred their effective binding with metal ions [5]. Hence, in the present investigation, we have planned for spectro-analytical properties of pyridoxal hydrazone viz; 4-pyridine carboxaldehyde- 3-hydroxy-5-(hydroxy methyl)-2-methyl hydrazone (PCHHMMH) hydrochloride to explore its metal binding properties. Further its Cu (II) complex is synthesized to understand its activity in various biological applications including cytotoxicity.
MATERIALS AND METHODS
All the chemicals used are AR Grade. Pyridoxal Hydrochloride is procured from Sigma Aldrich and Hydrazine Hydrate from MERCK.
Fig. 1: Pyridine carboxaldehyde-3-hydroxy-5-(hydroxy methyl)-2-methyl hydrazone (PCHHMMH) hydrochloride
The 4-Pyridine carboxaldehyde-3-hydroxy-5-(hydroxymethyl)-2-methyl hydrazone (PCHHMMH) hydrochloride (Fig.1) was synthesized using known procedure [6]. The purity of compound was ascertained by recording LC-MS data on Shimadzu LCMS-2010A. The chromatogram was obtained by injecting 5μL of the sample dissolved in methanol into C18 column, using methanol: water mobile phase mixture 90:10, with a flow rate 0.2 mL/min and UV (254 nm) detector. The mass spectrum obtained by using Atmospheric Pressure Chemical Ionization in Negative Mode. The Cu (II) complex of title compound was synthesized by known procedure and its mass was recorded on VG AUTOSPEC. IR spectra (KBr) were recorded on a Perkin–Elmer 435 spectrophotometer. 1H-NMR and 13C-NMR spectra were recorded on Bruker WH (270 MHz) spectrometer. UV-Vis spectra were scanned on UV-3600 Schimadzu spectrophotometer.
The pH measurements were made using a digital ELICO electronic model LI 120 pH meter in conjunction with a combined glass and calomel electrode. The pH meter was calibrated at different pH values 7.0, 4.0 and 9.2 using the appropriate standard (BDH) buffers with necessary temperature corrections. Irving-Rossotti pH [7, 8, 9] titration technique was employed for the determination of dissociation constants in aqueous medium. The magnetic susceptibility of the copper complex was measured on a Faraday balance model 7550. The calibration constant was first determined by taking a measurement on standard substance Hg[Co(SCN)4]. The particle size and morphology of Cu (II) PCHHMMH complex were recorded on Ziess Scanning Electron Microscope. INCA EDX instrument was used to study the elemental analysis. Thermo gravimetric analysis (TGA) [10, 11, 12] and differential thermal analyses (DTA) of complex was carried out on Schimadzu TGA-50 H in the Nitrogen atmosphere in the temperature range 0-1000 °C. The ESR spectrum was recorded on BRUKER-EMX using X-band radiation. The molecular modeling program HyperChem 7.5 was employed for computational studies.
RESULTS AND DISCUSSION
Spectro analytical studies of PCHHMMH
In order to understand structural aspects of title compound, IR, 1H-NMR, 13C- NMR, DEPT and UV-Vis, spectra were recorded. To elucidate the number of dissociable protons and to know the binding sites in the title compound, pH-Metric studies were carried out.
Mass spectrum

Fig. 2: Mass spectrum of PCHHMMH
The mass spectrum of PCHHMMH recorded a peak with maximum intensity (base peak) at m/z 182 which corresponds to [M+H]+ and at m/z 181 to [M]+ molecular ion peak. Other fragment peaks are observed at m/z 167,153,139 and 125. The expected mass corresponding to hydrochloride form of PCHHMMH is off the scale of mass spectrum.
IR spectrum

Fig. 3: IR Spectrum of PCHHMMH
IR spectrum of compound displayed peaks at 3354 cm-1 (υO-H ), 3292 cm-1and 3180 cm-1 (υN-H ) symmetric and asymmetric stretching respectively. The peaks at 3090 cm-1 (υC-H (Arom)), 2914 cm-1 (υC-H, CH3), 1620 cm-1 (υC=N), 1570 cm-1(υC=C), 1215 cm-1 (CH3 bending) and 1089 cm-1 (υC-O) are also structurally supported vibrational IR active modes. The appearance of shoulder and broad nature of the band above 3000 cm-1 indicates that extensive inter and intra molecular hydrogen bonding in the compound.
1H-NMR & D2O Exchange
The 1H-NMR spectrum determined in DMSO-d6 showed peaks at 12.89 δ (s, Ar-OH), 8.5 δ (s, NH2), 8.4 δ (s, CH=N), 8.1 δ (s, Ar-CH), 5.6 δ (s, alcoholic-OH), 4.63(s, CH2-N=N), 2.6(s, CH2), 2.5(s, CH3) ppm. The δ (NH2) and δ (Ar-OH) peaks are confirmed by D2O studies, which disappeared on deuteration (Fig.4a & Fig.4b).

Fig. 4a: 1H-NMR spectrum in DMSO-d6

Fig. 4b D2O exchange spectrum of PCHHMMH
13C- NMR & DEPT 135
The 13C-NMR recorded signals (DMSO-d6, δ) at 151, 140,133, 132, 129, 128, 58 and 14.2 ppm correspond to aromatic, azomethine and aliphatic carbons respectively (Fig.5a).

Fig. 5a: 13C-NMR spectrum of PCHHMMH

Fig. 5b: DEPT Spectrum of PCHHMMH
The DEPT 135 spectrum (Fig.5b) indicated upward peaks of primary carbon at 14.2 ppm and tertiary carbons at 128, 133 ppm, and downward peak corresponding to secondary carbon at 58 ppm. The peaks observed in 13C-NMR (Fig.5a) at 151, 140, 132 and 129 are ascribable to quaternary carbon atoms.
The experimental data is compared with the theoretical data (Table 1, 2,3) obtained by the optimized structure of the molecule (Fig.6a) using Hyperchem 7.5 tools[13].

Fig. 6a: Geometry Optimized structure of PCHHMMH.HCl

Fig. 6b: Geometry optimized structure for ionized form of PCHHMMH
IR spectral Analysis
The experimental IR spectral data and corresponding computed data (Table.1) generated through semi empirical single point PM3 method for optimized molecule (Fig.6a), are in good agreement.
Table 1: IR Spectral data of PCHHMMH
| Compound | υ cm-1 | ||||||
| PCHHMMH | CH2OH, OH | NH | CH (Arom) | CH3 | C=N | C=C (ring) |
CO |
| Experimental | 3400 -3300 | 3202, 3180 | 3090 | 2914 | 1620 | 1570 | 1089 |
| Computed | 3900-3800 | 3540,3408 | 3100 | 3165 | 1826 | 1594 | 1100 |
NMR Spectral Simulation
1H-NMR and 13C-NMR data were also computed and compared with the experimental data obtained (Table-2, 3). From the analysis of data it is clear that there is deviation in chemical shift values with respect to protons attached to electronegative groups. Such deviations are attributable to hydrogen bonding interactions which would influence the experimental values.
Table 2: 1H-NMR δ(ppm) Spectral Data of PCHHMMH
PCHHMMH |
δ ppm | ||||||
| OH(ring) | NH | HC=N(azomethine) | CH(arom) | OH(benzylic) | CH2 | CH3 | |
| Experimental | 12.89 | 8.45 | 8.4 | 8.1 | 5.6 | 2.6 | 2.5 |
| Computed | 12.7 | 8.24 | 8.50 | 10.14 | 5.90 | 3.6 | 1.5 |
Table 3: 13C-NMR Spectral data
| PCHHMMH | δ ppm | |||
| Aromatic carbons | HC=N | CH2 | CH3 | |
| Experimental | 151, 140,132,129,128 | 133 | 58 | 14.2 |
| Computed | 182,157,136,176,133 | 231 | 60 | 12 |
The 13C NMR chemical shifts, computed by Hyperchem tools showed comparable results with experimental values with more deviation corresponding to azomethine carbon.
pH- Metric studies
To understand the chelation properties of the title compound, an attempt is made to study its potential donor sites that bind with metal ions. The title compound is in hydrochloride form and hence ring nitrogen gets protonated in the solution. In the present investigation an attempt was made to determine dissociation constants by Irving-Rossotti pH-metric technique. The pH-metric titrations were carried out in aqueous medium at 303o K and 0.1 M (KNO3) ionic strength (Fig.7a).
The dissociation constant values were calculated using Irving-Rossotti titration curves. From the titration data obtained, dissociation constants have been calculated from the linear plots of Log (2-A)/ (A-1), Log (1-A)/A, Vs pH (Fig.7b and 7c). The results indicated the presence of two dissociable protons corresponding to ring NH+ proton (pKa1=4.7) and phenolic OH group of PCHHMMH (pKa2=10.58).
The titration curves clearly indicated the release of dissociable protons more easily in presence of Cu2+ ions indicating formation of corresponding complex in solution.

Fig. 7a: pH titration curves of PCHHMMH system in aqueous medium at 303 K and 0.1 M ionic strength

. Fig. 7b: Plot of Log (2-A)/ (A-1) Vs pH of PCHHMMH in aqueous medium

Fig. 7c: Plot of Log (1-A)/ (A) Vs pH of PCHHMMH in aqueous medium
Spectrophotometric studies of PCHHMMH and its interaction with Cu (II) metal ion.
An attempt was made to establish the metal to ligand ratio in the complex formed from PCHHMMH and copper (II) ion, by adopting mole ratio method. A series of solutions are prepared [14], in which the molar concentration of metal ion is kept constant while that of the PCHHMMH was varied. The pH of solutions was maintained constant by adding acetate buffer for 1:1 composition at 411 nm. A plot of the absorbance versus number of moles of the PCHHMMH per mole of Cu (II) ion showed two straight lines of different slopes intersecting at a point corresponding to one mole of ligand (Fig.8) confirmed formation of 1:1 complex.
Computational Studies
In the present investigation the HyperChem 7.5 software was used for quantum mechanical calculations. After building molecule by HyperChem 7.5 tools [15-20], the geometry optimization was carried out using semi empirical single point PM3 method. The IR and NMR spectral data is generated with approximation for the title compound. Quantum chemical calculations have been widely used to study donor and acceptor properties of molecules. The values of energy of the highest occupied molecular orbitals (EHOMO), the lowest unoccupied molecular orbitals (ELUMO) and the energy gap between EHOMO- LUMO were computed.

Fig. 8: Plot of absorbance versus mole ratio of ligand at 303 K in dilute acetic acid medium.

Fig. 9a: Contour Map of Electrostatic Potential of molecule

Fig. 9b: Electrostatic potential in ionized form
![]() |
![]() |
| Fig.10a: Contour Map of Highest Occupied Molecular Orbital(HOMO) | Fig.10b: Contour Map of Lowest Unoccupied Molecular Orbital (LUMO) |
| Eigen Value -8.26 eV | Eigen Value -0.486 eV |
The charge density sites and electrostatic potentials are localized more on phenolic oxygen and imine nitrogen (Fig.9a, 9b) in both the molecular and ionic forms. The orientation of highest occupied molecular orbitals (HOMO) and lowest unoccupied molecular orbitals (LUMO) are generated (Fig.10a, 10b) to understand the metal binding sites. The energy difference of 7.77eV between the HOMO (B.E: 8.26eV) and LUMO (B.E: 0.486eV) frontier orbitals in molecular form is more than the energy difference of 7.31 eV between HOMO (B.E 3.71 eV) and LUMO (B.E: -3.60 eV) orbitals in ionized form indicating relatively more labile property in latter.
The lower binding energy of HOMO frontier orbitals of ionic species incriminates greater binding ability in ionized form rather than in molecular form.
![]() |
![]() |
| Fig. 11a: Highest Occupied Molecular Orbitals(HOMO)in Ionized Form | Fig. 11b: Lowest Unoccupied Molecular Orbitals (LUMO) in Ionized Form |
| Eigen Value -3.71eV | Eigen Value -3.60 eV |
The HOMO orientation in ionized form confirms that, the anti bonding orbitals oriented along oxygen of phenyl ring and imine nitrogen are more suitable for bonding.
Quantitative structure-activity relationship
Quantitative structure-activity relationship (QSAR) is a computational process that relates the chemical structure of compounds with biological activity. QSAR properties [21, 22] like surface area, volume, hydration energy, logP, refractivity, polarisability and mass were computed (Table-4).
Log P is critical parameter as it gives information about how molecules cross the cell membrane and is important in receptor interactions in biological systems. The low Log P value in PCHHMMH indicates its hydrophilic nature.
Table 4: QSAR properties of PCHHMMH
QSAR properties |
|
Surface area(Approx.) |
293.27 Å 2 |
Surface area(Grid) |
393.59 Å 2 |
Volume |
572.4 Å 3 |
Hydration energy |
-18.20 kcal/mol |
Log P |
0.42 |
Refractivity |
45.4 Å 3 |
Polarisability |
18.9 Å 3 |
Mass |
181.19 amu |
Spectro-analytical studies of Cu (II) complex of PCHHMMH
As the title compound has potential donor sites, we planned to synthesize its Cu (II) complex and characterize by Mass, IR, UV-Vis, TGA, SEM and ESR studies.
Mass spectrum
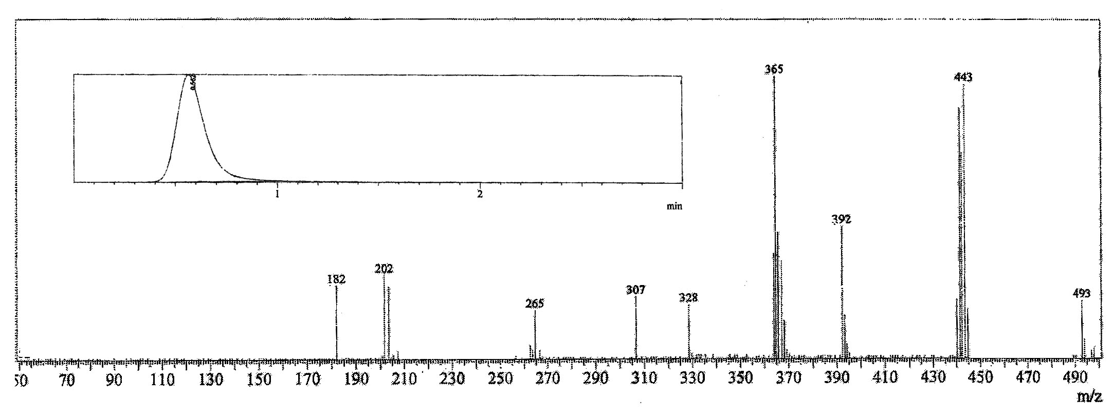
The mass spectrum of Cu (II) PCHHMMH was presented (Fig.12).

Fig. 12: LC-MS Chromatogram and Mass Spectrun of Cu (II) PCHHMMH
From the results it was observed that the molecular ion peak is recorded at m/z = 365 in the mass spectrum of Cu (II) PCHHMMH complex (Fig.12). This peak corresponds to 1:1 composition of metal complex. (Cu (II): PCHHMMH) and also infers the presence of Chloro and aquo groups in coordination sphere.
IR Spectrum of the Cu (II) PCHHMMH complex
IR spectrum was recorded for the Cu (II) PCHHMMH complex and compared with the spectrum of candidate compound (PCHHMMH)

Fig. 13: IR spectrum of Cu(II) complex of PCHHMMH
The IR results of the Cu (II) complex (Fig.13) displayed trough in the range about 3500-2900 cm-1 indicating presence of coordinated water. The N-H, aromatic and aliphatic C-H vibrations expected in the same region are masked by vibrational modes from water molecules in the complex. The band due to C=N shifted to lower wave number 1531 cm-1 suggests imine nitrogen as one of the donor site for complex formation. The new bands due to M-N M-O bonds and M-Cl in the complex were observed in the far IR (600-400 cm-1) region.
TGA and DTA studies of Cu (II) PCHHMMH complex
From the TGA of Cu (II) PCHHMMH complex (Fig.14), it is observed that the total loss of 75.85 % occurred in three steps. A minimum weight loss in the range of 194-294°C and maximum weight loss in the range of 300-635°C are attributed to loss of coordinated water molecule and ligand through decomposition. The mass of the final residue correspond to the stable copper oxide.

Fig. 14: TGA and DTA curves of Cu (II) PCHHMMH complex
The percentage of the metal oxide residue at 1000°C approximately corresponds to metal content in 1:1 composition of the complex. The DTA curve exhibited three exothermic peaks centered at 316°C, 426°C and 500°C which are due to phase changes accompanied by the loss of water followed by the decomposition of coordinated moiety consisting of three nitrogen atoms.
SEM and EDX studies of Cu (II) complex of PCHHMMH

Fig. 15: SEM Image and EDX spectrum of Cu (II) complex of PCHHMMH
The Scanning electron microscopy (SEM) image indicated the particle size in the range of 100μm and EDX results (Fig.15) assign the presence of chorine and composition of other elements in the Cu(II)PCHHMMH complex.
UV-VIS spectra of PCHHMMH and its Cu (II) complex of PCHHMMH
The electronic spectrum (Fig.16a) of title compound and its Cu (II) complex were recorded in dil. acetic acid (1:1) medium at room temperature.
PCHHMMH complex
The results indicate the absorption maxima at wavelengths λ of 349nm, 299nm and 227 nm. These peaks may be assigned to π→ π* (C=C), n→ π* (C=N) and n→ π* (N=N) transitions respectively. The bands observed in the visible region of Cu (II) complex spectrum (Fig.16b) are attributable to d-d transitions.

Fig. 16a: Uv-Vis spectrum of PCHHMMH Fig. 16b: Uv-Vis spectrum of Cu (II)
ESR spectrum of Cu (II) complex of PCHHMMH
The ESR spectrum (Fig.17) of Cu (II) PCHHMMH complex was recorded in powder state at room temperature.
The results obtained indicated a single peak at 3309G with ‘g’ value 2.10256. In majority of Cu (II) complexes the ‘g’ value is anisotropic because of tetragonal distortion. In the present investigation, experimental g value confirms isotropy of Cu (II) PCHHMMH complex inferring less significance of tetragonal distortion. The hyperfine interactions are not observed as the spectrum is recorded in powder state with less energetic X-band radiation.

Fig. 17: ESR spectrum of Cu (II) PCHHMMH complex.
The magnetic moment (µ) value of Cu (II) PCHHMMH complex calculated from magnetic susceptibility values measured by Faraday method [23, 24] is 1.41 BM.
Biological Activity Studies
Antibacterial and cytotoxic activities of the title compound and its complex were evaluated to understand implication of metal ion coordination with binding sites of the hydrazone understudy.
Antibacterial Activity
The antibacterial activity of the title compound 4-pyridine carboxaldehyde 3-hydroxy-5-(hydroxy methyl)-2-methyl hydrazone (PCHHMMH) hydrochloride was studied by applying the disc diffusion method [25] which is one of the most precise and reliable methods for determining the degree of sensitivity of microbes to antibiotics. The actively growing cultures were mixed in soft agar (1% Nutrient agar were used for bacteria respectively) and plated to permit fast and good growth yields for many bacterial species. Extract was loaded onto 6mm sterile filter paper discs separately. The discs were then placed on the pre-seeded agar medium and incubated for 24 hrs at 37oC and observed for zone of growth inhibition. The compounds were tested for antibacterial activity against Staphylococcus aureus, Bacillus cereus (Gram positive) and Escherichia coli, Klebsiella pneumoniae and Pseudomonas aeruginosa (Gram negative) bacteria. The comparison of biological activity with different strains of bacteria revealed that the compound under investigation is highly active against both gram positive and negative bacteria. The results are tabulated (Table-5). The studies revealed that PCHHMMH showed moderate activity while its copper complex exhibited more pronounced activity against gram-negative bacteria and gram-positive bacteria. The enhanced activity in metal complex indicates the significant role of metal ions in the coordinated system in biological applications.
Table 5: Antibacterial activity of PCHHMMH and its Cu (II) complex
| Name of the bacteria | Ligand Activity | Cu (II) complex activity | Ampicillin |
| Gram positive | |||
| Staphylococcus aureus | 5+0.4 | 10+0.4 | 32+0.1 |
| Bacillus cereus | 7.5+0.5 | 21+0.5 | 24+0.2 |
| Gram negative | |||
| Pseudomonas aeruginosa | 15+0.8 | 20+0.6 | 17+0.1 |
| Escherichia coli | 7.5+0.5 | 30+0.5 | 17+0.1 |
| Klebsiella pnemoniae | NA | NA | 18+0.2 |
| <10mm (slightly active), <20mm (moderately active), >20mm (highly active) |
Note: Zone of inhibition is measured in mm, Ampicillin used as a control., NA= Not Active
Cytotoxic studies of Cu (II) PCHHMMH complex
The human prostate cancer (DU145), human lung cancer (A549), human breast adenocarcinoma (MCF-7) and human cervical cancer (HeLa) cell lines were obtained from ATCC (Manassas, USA) and maintained in DMEM medium (Sigma), containing 10 % fetal bovine serum, 100 units/mL penicillin and streptomycin. The cytotoxic potential of the Cu(II) complex of 4-pyridine carboxaldehyde-3-hydroxy-5-(hydroxy methyl)-2-methyl hydrazone (PCHHMMH) hydrochloride on these selected tumor cells was measured by Sulforhodamine B (SRB) method. Briefly, the cells are cultured in 96-well plates (5,000 cells/100 μL) by incubation for 18-24hrs with constant supply of 5 % CO2.
The Cu (II) PCHHMMH complex and doxorubicin as control were prepared in DMSO and added to cell-culture medium at final concentration of 0.1, 1, 10 and 100 μM. Plates were incubated further for 48 h. The assay was terminated by the addition of 50 μL of cold 10 % trichloro acetic acid (TCA) and incubated for 60 min at 4˚C. The plates were washed four times with tap water and air-dried. Sulforhodamine B (SRB) solution (50 μL) at 0.057 % (w/v) in 1 % acetic acid was added to each well, and plates were incubated for 30 minutes at room temperature. The excess dye was removed by washing with 1 % acetic acid and the plates were air-dried. The stain bound to cells was solubilized in 10 mM tris base, and the absorbance (λmax) was measured at 510 nm. From the observed percentage growth for test wells relative to control wells, IC50 values were calculated.
The cytotoxicity results of the Cu (II) PCHHMMH complex against cancer cell lines were presented in the above table (Table.6) signify the moderate activity towards MCF-7, DU145 and A549 cell lines and inactivity against the HeLa cell line. As the lower IC50 value corresponds to higher therapeutic activity, the Cu (II) PCHHMMH complex activity order against cancer cell lines is MCF-7 > A549 > DU145. The decreasing order of cytotoxicity indicates that Cu (II) PCHHMMH complex is more active against MCF-7 cell line compare to other cell lines.
Table 6: Cytotoxicity of Cu (II) PCHHMMH complex on Cancer cell lines
| S. No. | Type of the cancer cell line | Sample | Standard |
Cytotoxicity of the Cu (II) PCHHMMH complex |
Doxorubicin IC50 Values(µM) with respect to cancer Cell lines | ||
| 1 | HELA | NA | 7.924971 |
| 2 | MCF-7 | 44.28 | 8.8557994 |
| 3 | DU145 | 68.72 | 6.838124 |
| 4 | A549 | 45.0396 | 8.637747 |
CONCLUSION
The study on structural properties of title compound with theoretical and experimental approach indicated corroborated results. The pH-metric and spectrophotometric studies are informative in understanding metal ion binding properties of hydrazone under present study. The spectroanalytical results of copper complex are informative in understanding the structure of complex. Antibacterial studies showed more pronounced activity of copper complex than the title hydrazone in unbound form. Such an inference throws an insight on the activity of metal ions through formation of metal complexes. Further, cytotoxic studies indicated the activity of copper complex against various types of cancer cell lines.
CONFLICT OF INTERESTS
Declared None
ACKNOWLEDGEMENT
We are thankful to Department of Chemistry, Sarojini Naidu Vanitha Maha Vidyalaya, Hyderabad for providing necessary facilities ant Department of Botany for Antimicrobial studies.We are thankful to IICT, Tarnaka, Hyderabad for extending facilities for recording Mass spectra. We are also thankful to the Instrumentation Lab Facilities, Department of Chemistry and CFRD, Osmania University, Hyderabad for recording UV-Vis, IR, 1H and 13C NMR spectra. We are thankful to Department of Physics, O.U for recording SEM (EDX) spectra. Our thanks extend to Instrumentation Lab facilities, College of Technology, O.U. for recording TGA and DTA spectra.
REFERENCES